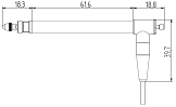
傳感器851S,LVDT位移傳感器 瑞士位移傳感器用于各種長度、直徑、厚度、高度差、跳動、同心度及垂直度的測量。裝夾方式簡單、通用,測量準確,適用于加工車間使用。
PETER LVDT傳感器的優點: · 位移導向采用滾珠軸承,確保測量的高準確性 · 量程范圍內良好的線性誤差 · 各量程傳感器,同時包含真空提升及壓縮空氣驅動型號產品 · 良好的產品兼容(Mahr、Marposs) · 成熟的半橋、LVDT技術,保證測量穩定性及準確性 · 超過1000萬次使用壽命 |  | PETER傳感器的特性: · 0~10.6mm多種行程 · 統一φ8h6裝夾直柄 · 提升驅動包括精密彈簧形式、真空提升、壓縮空氣驅動 · 標準硬質合金測球,部分傳感器可根據自行需要更換測頭形式 · 無摩擦、球支承滑動測量保證了耐久性和重復性 · 測力可調 · 設計牢固并持續更新 |
傳感器 851S001、851S003、851S005、851S007 (軸向電纜) 傳感器 851S002、851S004、851S006、851S008 (徑向電纜) A型 彈簧推動 | B型 真空提升 | C型氣壓驅動波紋管密封 | D型氣壓驅動,氣隙密封 | 851S001A/003A/005A/007A  | 851S002B/004B/006B/008B  | 851S001C/003C/005C/007C  | 851S002D/004D/006D/008D  | 851S002A/004A/006A/008A  | 851S001B/003B/005B/007B  | 851S002C/004/C006C/008C  | 851S001D/003D/005D/007D  |
技術參數- 相同參數 行程 | 4.6mm | 測量行程 | ±2mm | 支撐方式 | 球軸承 | 測頭旋轉 | 全行程1° | 溫度范圍 | -10°C~65°C,使用/存放溫度 | 安裝位置 | 任意 | 主體直徑 | Φ8h6 | 電纜 | 聚亞安脂(PUR),長2m | 插頭 | 5線,270° | 重復精度 | 0.01um | 維修 | 可修理,可拆單元 | 測頭 | Φ3mm硬質合金球,M2.5螺紋連接,可更換 | 線圈型式 | 851S001、851S002 | 半橋式 | 851S003、851S004 | 全橋式(LVDT) | 851S005、851S006 | 全橋式(LVDT)與Marposs兼容 | 851S007、851S008 | Mahr兼容 | 驅動頻率 | 851S001、851S002 | 13kHz±5% | 供電電壓 | 851S001、851S002 | 3V±0.5%RMS | 851S003、851S004 | 5kHz±5% | 851S003、851S004 | 3V±0.5%RMS | 851S005、851S006 | 7.5kHz±5% | 851S005、851S006 | 3V±0.5%RMS | 851S007、851S008 | 20kHz±5% | 851S007、851S008 | 5V±0.5%RMS | 靈敏度 | 851S001、851S002 | 73.75±0.15mV/(V?mm) (輸入電阻R=2KΩ±0.1%) | 851S003、851S004 | 150mV/(V?mm) (輸入電阻R=100KΩ) | 851S005、851S006 | 210mV/(V?mm) (輸入電阻R=100KΩ) | 851S007、851S008 | 184mV/(V?mm) (輸入電阻為正常阻抗) | 線性誤差 | 851S001、851S002 | 0.25%FS±1000um 范圍(20°C±1°C) | 851S003、851S004 | 0.25%FS±1000um 范圍(20°C±1°C) | 851S005、851S006 | 0.25%FS±1000um 范圍(20°C±1°C) | 851S007、851S008 | 0.3%FS±1000um 范圍(20°C±1°C) |
不同參數 型號 | A型 | B型 | C型 | D型 | 預行程 / 默認設置 | 可調 / -1.2mm | 可調 / -1.2mm | 可調 / +2.8mm | 可調 / +2.8mm | 壽命 | 大于1000萬次 | 大于1000萬次 | ―― | 大于1000萬次 | 防護套 | FPM/FKM(氟橡膠) | FPM/FKM(氟橡膠) | FPM/FKM(氟橡膠) | ―― | 提升 / 驅動 | 無 | 真空提升 | 氣壓驅動 | 氣壓驅動 | 壓力 | ―― | ―― | 2.0bar | 6.0bar |
傳感器851S009(軸向電纜)/851S010(徑向電纜) 概述 A型 彈簧推動 | B型 真空提升 | C型氣壓驅動,波紋管密封 | D型氣壓驅動,氣隙密封 | 851S009A 
851S010A
| 851S010B | 851S010C  | 851S010D  |
技術參數-相同參數 行程 | 2.5mm | 測量行程 | ±1mm | 支撐方式 | 球軸承 | 測頭旋轉 | 全行程1° | 溫度范圍 | -10°C~65°C,使用/存放溫度 | 安裝位置 | 任意 | 主體直徑 | Φ8h6 | 電纜 | 聚亞安脂(PUR),長2m | 插頭 | 5線,270° | 重復精度 | 0.02um | 驅動頻率 | 13kHz±5% | 供電電壓 | 3V±0.5%RMS | 線圈型式 | 半橋式 | 線性誤差 | 0.6%FS±1000um 范圍(20°C±1°C) | 測頭 | Φ2mm硬質合金球,不可更換 | 預行程 | 不可調 | 靈敏度 | 73.75±0.15mV/(V?mm) (輸入電阻R=2KΩ±0.1%) |
不同參數 型號 | A型 | B型 | C型 | D型 | 壽命 | 大于1000萬次 | 大于1000萬次 | ―― | 大于1000萬次 | 防護套 | FPM/FKM(氟橡膠) | FPM/FKM(氟橡膠) | FPM/FKM(氟橡膠) | ―― | 提升 / 驅動 | 無 | 真空提升 | 氣壓驅動 | 氣壓驅動 | 壓力 | ―― | ―― | 1.5bar | 6.0bar | 測量力 | 0.4N±50%(電位零點) | 0.4N±50%(電位零點) | 0.6bar時,0.6N;0.8 bar時,1N(電位零) | 0.8bar時,0.6N;1.1 bar時,1N(電位零) |
傳感器851S011(軸線電纜)/851S012(徑向電纜) 概述 A型 彈簧推動 | B型 真空提升 | C型氣壓驅動,波紋管密封 | D型氣壓驅動,氣隙密封 | 851S011A 
851S012A
 | 851S011B 
851S012B
 | 851S011C 
851S012C
 | 851S011D 
851S012D
 |
技術參數-相同參數 行程 | 5.0mm | 測量行程 | ±2mm | 支撐方式 | 球軸承 | 測頭旋轉 | 全行程1° | 溫度范圍 | -10°C~65°C,使用/存放溫度 | 安裝位置 | 任意 | 主體直徑 | Φ8h6 | 電纜 | 聚亞安脂(PUR),長2m | 插頭 | 5線,270° | 重復精度 | 0.01um | 驅動頻率 | 13kHz±5% | 供電電壓 | 3V±0.5%RMS | 線圈型式 | 半橋式 | 維修 | 可修理,可拆單元 | 測頭 | Φ3mm硬質合金球,M2.5螺紋連接,可更換 | 靈敏度 | 36.88±0.15mV/(V?mm) (輸入電阻R=2KΩ±0.1%) | 線性誤差 | 0.5%FS±2000um 范圍(20°C±1°C) |
不同參數 型號 | A型 | B型 | C型 | D型 | 預行程 / 默認設置 | 可調 / -2.25mm | 可調 / -2.25mm | 可調 / +2.25mm | 可調 / +2.25mm | 壽命 | 大于1000萬次 | 大于1000萬次 | ―― | 大于1000萬次 | 防護套 | FPM/FKM(氟橡膠) | FPM/FKM(氟橡膠) | FPM/FKM(氟橡膠) | ―― | 提升 / 驅動 | 無 | 真空提升 | 氣壓驅動 | 氣壓驅動 | 壓力 | ―― | ―― | 2.0bar | 6.0bar |
傳感器851S013/851S014/851S015/851S016 概述 851S013 851S014 - 測量行程±2mm
- 半橋式
- OEM模式
| 851S013  | 851S014  | 851S015 851S016 - 測量行程±2mm
- 全橋式(LVDT)
- OEM模式
| 851S015  | 851S016 |
技術參數 -相同參數 重復精度 | 0.01um,與外加線性軸承有關 | 測量行程 | ±2mm | 支撐方式 | 無/外加 | 供電電壓 | 3V±0.5%RMS | 溫度范圍 | -10°C~65°C,使用/存放溫度 | 安裝位置 | 任意 | 主體直徑 | Φ8h6 | 電纜 | 聚亞安脂(PUR),長2m | 插頭 | 5線,270° | 維修 | 可修理,可拆單元 | 線性誤差 | 0.25%FS±1000um 范圍(20°C±1°C) |
不同參數 電纜 | 851S013 軸向 | 851S014 徑向 | 851S015 軸向 | 851S016 徑向 | 靈敏度 | 73.75±0.15mV/(V?mm) (輸入電阻R=2KΩ±0.1%) | 73.75±0.15mV/(V?mm) (輸入電阻R=2KΩ±0.1%) | 150mV/(V?mm) (輸入電阻R=100KΩ) | 150mV/(V?mm) (輸入電阻R=100KΩ) | 驅動頻率 | 13kHz±5% | 13kHz±5% | 5kHz±5% | 5kHz±5% | 線圈型式 | 半橋式 | 半橋式 | 全橋式(LVDT) | 全橋式(LVDT) |
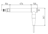
傳感器851S017、851S019、851S021(軸向電纜) 傳感器851S018、851S020、851S022(徑向電纜) 概述 A型 彈簧推動 | B型 真空提升 | C型氣壓驅動,波紋管密封 | D型氣壓驅動,氣隙密封 | 851S017A/019A/021A
 851S018A/020A/022A  | 851S017B/019B/021B
 851S018B/020B/022B  | 851S017C/019C/021C
 851S018C/020C/022C 
| 851S017D/019D/021D
 851S018D/020D/022D  |
技術參數 -相同參數 行程 | 10.6mm | 測量行程 | 851S017、851S018 | ±5mm | 設置 | 851S017、851S018 | | 851S019、851S020 | ±2mm | 851S019、851S020 | 1:2 | 851S021、851S022 | ±2mm | 851S021、851S022 | 1:1 | 支撐方式 | 球軸承 | 測頭旋轉 | 全行程1° | 溫度范圍 | -10°C~65°C,使用/存放溫度 | 安裝位置 | 任意 | 主體直徑 | Φ8h6 | 電纜 | 聚亞安脂(PUR),長2m | 插頭 | 5線,270° | 重復精度 | 0.02um | 驅動頻率 | 13kHz±5% | 供電電壓 | 3V±0.5%RMS | 線圈型式 | 半橋式 | 維修 | 可修理,可拆單元 | 測頭 | Φ3mm硬質合金球,M2.5螺紋連接,可更換 | 靈敏度 | 851S017、851S018 | 標準設置1:10,7.38±0.02mV/(V?mm)(輸入電阻R=2KΩ±0.1%) 可選設置1:5,14.76±0.04mV/(V?mm)(輸入電阻R=2KΩ±0.1%) | 851S019、851S020 | 36.88±0.15mV/(V?mm)(輸入電阻R=2KΩ±0.1%) | 851S021、851S022 | 73.75±0.15mV/(V?mm)(輸入電阻R=2KΩ±0.1%) | 線性誤差 | 851S017、851S018 | 0.9%FS±5000um 范圍(20°C±1°C) | 851S019、851S020 | 0.5%FS±2000um 范圍(20°C±1°C) | 851S021、851S022 | 0.25%FS±1000um 范圍(20°C±1°C) |
不同參數 型號 | A型 | B型 | C型 | D型 | 預行程 / 默認設置 | 851S017/851S018 | 可調 / -5.5mm | 可調 / -5.5mm | 可調 / +5.5mm | 可調 / +5.5mm | 851S019/851S020 | 可調 / -2.5mm | 可調 / -2.5mm | 可調 / +8mm | 可調 / +8mm | 851S021/851S022 | 可調 / -2.5mm | 可調 / -2.5mm | 可調 / +8mm | 可調 / +8mm | 壽命 | 大于1000萬次 | 大于1000萬次 | ―― | 大于1000萬次 | 防護套 | FPM/FKM(氟橡膠) | FPM/FKM(氟橡膠) | FPM/FKM(氟橡膠) | ―― | 提升 / 驅動 | 無 | 真空提升 | 氣壓驅動 | 氣壓驅動 | 壓力 | ―― | ―― | 2.0bar | 6.0bar |
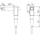
傳感器851S023/851S024/851S025/851S026 概述 851S023 851S024 - 測量行程±2mm
- 半橋式
- 推動方式與選擇的附件有關
| 851S023
| 851S024 
| 851S025 851S026 - 測量行程±2mm
- 全橋式(LVDT)
- 推動方式與選擇的附件有關
| 851S025 
| 851S026 
|
技術參數 -相同參數 行程 | 6.0mm | 測量行程 | ±2mm | 重復精度 | 0.01um | 使用壽命 | 大于1000萬次 | 測頭旋轉 | 全行程1° | 測頭 | 可安裝 | 支撐方式 | 球軸承 | 供電電壓 | 3V±0.5%RMS | 溫度范圍 | -10°C~65°C,使用/存放溫度 | 安裝位置 | 任意 | 外形尺寸 | 70×14×12mm | 電纜 | 聚亞安脂(PUR),長2m | 提升 | 可安裝 | 測量力 | 1N±15% (零點位點),可選擇1.6N | 插頭 | 5線,270° | 維修 | 可修理,可拆單元 | 線性誤差 | 0.25%FS±1000um 范圍(20°C±1°C) | 預行程 默認設置 | 可調 -1.2mm |
不同參數 電纜 | 851S023 軸向 | 851S024 徑向 | 851S025 軸向 | 851S026 徑向 | 靈敏度 | 73.75±0.15mV/(V?mm) (輸入電阻R=2KΩ±0.1%) | 73.75±0.15mV/(V?mm) (輸入電阻R=2KΩ±0.1%) | 150mV/(V?mm) (輸入電阻R=100KΩ) | 150mV/(V?mm) (輸入電阻R=100KΩ) | 驅動頻率 | 13kHz±5% | 13kHz±5% | 5kHz±5% | 5kHz±5% | 線圈型式 | 半橋式 | 半橋式 | 全橋式(LVDT) | 全橋式(LVDT) |
傳感器851S027/851S028/851S029 概述 851S027 - 測量行程±0.25mm
- 半橋式
- 彈簧推動
| 851S028 - 測量行程±0.25mm
- 半橋式
- 彈簧推動
| 851S029 - 測量行程±0.4mm
- 半橋式
- 彈簧推動
| 
| 
| 
|
技術參數 -相同參數 支撐方式 | 球軸承 | 壽命 | 大于1000萬次 | 溫度范圍 | -10°C~65°C,使用/存放溫度 | 安裝位置 | 任意 | 電纜 | 聚亞安脂(PUR),長2m | 插頭 | 5線,270° | 提升 | 無 | 重復精度 | 0.01um | 驅動頻率 | 13kHz±5% | 供電電壓 | 3V±0.5%RMS | 線圈型式 | 半橋式 | | | 靈敏度 | 73.75±0.15mV/(V?mm)(輸入電阻R=2KΩ±0.1%) |
不同參數 電纜 | 851S027 軸向,無推動保護 | 851S028 徑向 | 851S029 軸向 | 行程 | 0.8mm | 0.8mm | 1.5mm | 測量行程 | ±0.25mm | ±0.25mm | ±0.4mm | 預行程 | 0.35mm | 0.35mm | 0.40mm | 測頭旋轉 | 全行程0.5° | 全行程0.5° | 全行程1.5° | 測頭 | 4mm硬質合金球 | 4mm硬質合金球 | 2mm硬質合金球 | 防護套 | 鍍鎳 | 鍍鎳 | 鍍腈 | 主體直徑 | Φ8h6 | Φ8h6 | Φ5h6 | 測量力 | 0.63N±20% (零電位點) | 0.63N±20% (零電位點) | 0.78N±20% (零電位點) | 線性誤差 | 0.6%FS±250um (20°C±1°C) | 0.6%FS±250um (20°C±1°C) | 0.2%FS±400um (20°C±1°C) |
851DC-傳感器 851S-系列傳感器 應用 | 與851S系列傳感器相同 | 主體直徑 | Φ8h6 | 外形尺寸 | 電纜盒58×35×16mm | 供電電壓 | 5,12或24V(±10%)(訂貨時請說明),電流消耗120,50或25mA | 信號輸出 | ±10V,可替換全部規格(其他規格請進行咨詢) | 連接 | 供電和信號輸出:電纜(聚氯乙烯),長1m,備有金屬絲 傳感器與電纜盒連接,電纜(聚氯乙烯),長2m | 模塊 | 851S001/851S002 測量范圍±1mm 851S009/851S010 測量范圍±1mm 851S011/851S012 測量范圍±2mm 851S017/851S018 測量范圍±5mm 851S019/851S020 測量范圍±2mm 851S021/851S022 測量范圍±1mm | 訂貨實例 | 851S001,DC-傳感器,供電電壓24V:851S001 DC24V | 外形圖 | 
|
851Mini微型開關 小型信號開關,轉換位置具有很高的重復精度 應用 | 準確位置邊緣、終點的參考開關,參考設置等 | 電纜 | 聚亞安脂(PUR),長1m,備有金屬絲 | 重復精度 | ±0.001mm | 超行程 | 1.5mm(可訂購更長超行程) | 作用力 | 0.7N (可訂購其他值) | 溫度范圍 | -20~+70°C,保存和使用溫度 | 電流 | 50mA | 壽命 | 大于1000萬次 | 安裝位置 | 任意 | 功能 | NC(正常關閉) | 鎖緊螺母 | 2個 | 金屬絲 | 2×0.14mm2 | 主體OD | M8×0.5 | 材料 | 不銹鋼(1.4305) | 外形圖 | 
|
|